Главная > Подшипники> Шариковые> Радиально-упорные>30BNR20HV1V

30BNR20HV1V — Радиально-упорный шарикоподшипник, импортное производство по ISO стандарту, размер 30x55x16 номер основного исполнения .
Производитель: NSK.
Стопорное кольцо и проточка под него в наружном кольце подшипника.
Цена по запросу
Цена на подшипник зависит от:
Габаритные размеры
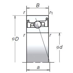
Размеры и геометрические характеристики
Нагрузка и ресурс
Защита
Присоединительные размеры
Конструкция и исполнение
Подшипник роликовый радиально-упорный конический однорядный повышенной грузоподъемности 3007106А
Радиальный шарикоподшипник Z-559330.01 (FAG)
Цилиндрический роликоподшипник RN206-E-MPBX (FAG)
Осевой радиально-упорный шарикоподшипник 562006 (NTN)
Радиально-упорный шарикоподшипник 30BNR20XV1V (NSK)
Радиально-упорный шарикоподшипник 30BNR20SV1V (NSK)