Главная > Подшипники> Шариковые> Радиально-упорные>305338A-1

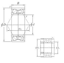
305338A-1 — Радиально-упорный шарикоподшипник, импортное производство по ISO стандарту, размер 190x269x66 номер основного исполнения .
Производитель: KOYO.
A1 = Конический роликовый подшипник однорядный
Цена по запросу
Цена на подшипник зависит от:
Габаритные размеры
Размеры и геометрические характеристики
Нагрузка и ресурс
Защита
Присоединительные размеры
Конструкция и исполнение
Подшипник шариковый двухрядный радиально-упорный DE3807 (NTN)
Радиально-упорный шарикоподшипник DE3801 (NTN)
Радиально-упорный шарикоподшипник SF3836DB (NTN)