Главная > Подшипники> Шариковые> Радиально-упорные>3005-B-2RSR-TVH

3005-B-2RSR-TVH — Подшипник шариковый радиально-упорный, импортное производство по ISO стандарту, размер 25x47x16 номер основного исполнения 3005.
Производитель: FAG.
2RSR = Резиновые уплотнения с каждой стороны подшипника.
Цена от:434 р.
Цена на подшипник зависит от:
| Обозначение | Модификация |
|---|---|
| 3005-2RS | Резиновые уплотнения с каждой стороны подшипника. |
| 3005-B-2Z-TVH | 2Z = Металлические шайбы с каждой стороны подшипника. |
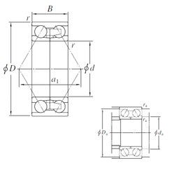
Габаритные размеры
Размеры и геометрические характеристики
Нагрузка и ресурс
Присоединительные размеры
Подшипник однорядный шариковый радиальный 63005 (FAG, NIS)
Подшипник шариковый упорный 958705 (ГПЗ-2)
Подшипник однорядный шариковый радиальный 63005 2RSR (FAG)
Подшипник однорядный шариковый радиальный 63005 2RSR.C3 (FAG)
Однорядный цилиндрический роликовый подшипник NCF3005 V (CX, IDC, ISO, NKE)