Главная > Подшипники> Роликовые > Радиально-упорные>180100/180180XP

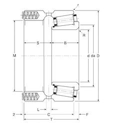
180100/180180XP — Подшипник роликовый радиально-упорный, импортное производство по ISO стандарту, размер 100x180x92 номер основного исполнения .
Производитель: Gamet.
X = Внешние размеры, соответствующие международным стандартам. P Литой сепаратор из стеклонаполненного полиамида 6,6, центрируемый по телам качения.
Цена по запросу
Цена на подшипник зависит от:
Габаритные размеры
Размеры и геометрические характеристики
Нагрузка и ресурс
Защита
Отклонение, точность вращения
Присоединительные размеры
Конструкция и исполнение
Другие размеры
Подшипник роликовый радиально-упорный 17720 Л
Подшипник роликовый радиально-упорный 20-97520 У1 (ГПЗ-9)
Подшипник роликовый радиально-упорный 20-97520 (ГПЗ-9)
Подшипник роликовый радиально-упорный 6-97520 У (ГПЗ-9)
Подшипник роликовый радиально-упорный 6-97520 АУ1 (ГПЗ-9)
Подшипник роликовый радиально-упорный 97520 У1 (ГПЗ-9)