Главная > Подшипники> Роликовые > Радиально-упорные>161140/161200P

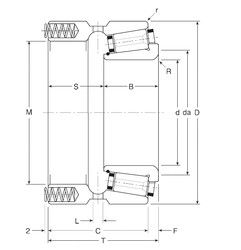
161140/161200P — Подшипник роликовый радиально-упорный, импортное производство по ISO стандарту, размер 140x200x80 номер основного исполнения .
Производитель: Gamet.
P = Литой сепаратор из стеклонаполненного полиамида 6,6, центрируемый по телам качения.
Цена по запросу
Цена на подшипник зависит от:
Габаритные размеры
Размеры и геометрические характеристики
Нагрузка и ресурс
Защита
Отклонение, точность вращения
Присоединительные размеры
Конструкция и исполнение
Другие размеры
Подшипник роликовый цилиндрический двухрядный 319428DA-2LS (SKF)
Цилиндрический роликоподшипник NNF5028X V (CX, ISO)
Подшипник роликовый радиально-упорный 161140/161200XP (Gamet)