Главная > Подшипники> Роликовые > Радиально-упорные>15118/15251D

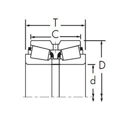
15118/15251D — Конический роликоподшипник, импортное производство по ISO стандарту, размер 30x63x46 номер основного исполнения .
Производитель: TIMKEN.
D = профиль наружного кольца, усовершенствованный, с увеличенной зоной несущей нагрузки и оптимизированными краевыми переходами.
Цена от:331 р.
Цена на подшипник зависит от:
Габаритные размеры
Размеры и геометрические характеристики
Защита
Конструкция и исполнение