Главная > Подшипники> Роликовые > Радиально-упорные>15100-S/15251D+X1S-15101

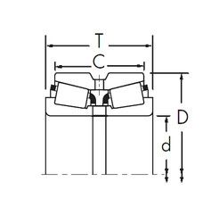
15100-S/15251D+X1S-15101 — Конический роликоподшипник, импортное производство по ISO стандарту, размер 25x63x46 номер основного исполнения .
Производитель: TIMKEN.
S1 = Кольца подшипника стабилизированы для рабочих температур до + 200 С.
Цена от:694 р.
Цена на подшипник зависит от:
Габаритные размеры
Размеры и геометрические характеристики
Защита
Конструкция и исполнение
Конический роликоподшипник 15100/15251D (TIMKEN)
Конический роликоподшипник 15101/15251D+X1S-15101 (TIMKEN)