Главная > Подшипники> Роликовые > Радиально-упорные>140080/140140P

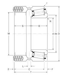
140080/140140P — Однорядный конический роликовый подшипник, импортное производство по ISO стандарту, размер 80x140x77 номер основного исполнения .
Производитель: Gamet.
P = Литой сепаратор из стеклонаполненного полиамида 6,6, центрируемый по телам качения.
Цена по запросу
Цена на подшипник зависит от:
Габаритные размеры
Размеры и геометрические характеристики
Нагрузка и ресурс
Защита
Отклонение, точность вращения
Присоединительные размеры
Конструкция и исполнение
Другие размеры
Подшипник роликовый радиально-упорный однорядный 2-17716 Л4 (ГПЗ-15)
Подшипник роликовый радиально-упорный однорядный 17716 Л
Подшипник роликовый радиально-упорный 17716 Л4
Подшипник роликовый радиально-упорный однорядный 2-17716 Л (ГПЗ-15)
Подшипник роликовый радиально-упорный однорядный 4-17716 Л4 (ГПЗ-15)
Подшипник роликовый радиально-упорный 4-17716 Л (ГПЗ-15)