Главная > Подшипники> Роликовые > Радиально-упорные>133075/133130P

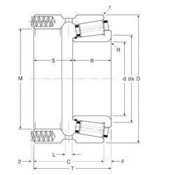
133075/133130P — Однорядный конический роликовый подшипник, импортное производство по ISO стандарту, размер 75x130x66 номер основного исполнения .
Производитель: Gamet.
P = Литой сепаратор из стеклонаполненного полиамида 6,6, центрируемый по телам качения.
Цена по запросу
Цена на подшипник зависит от:
Габаритные размеры
Размеры и геометрические характеристики
Нагрузка и ресурс
Защита
Отклонение, точность вращения
Присоединительные размеры
Конструкция и исполнение
Другие размеры
Конический роликоподшипник 32215UDF (NTN)
Однорядный конический роликовый подшипник 32215J2/QDF (SKF)
Подшипник роликовый радиально-упорный 32215J/DF (ISB)