Главная > Подшипники> Роликовые > Радиально-упорные>131093X/131158XP

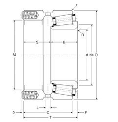
131093X/131158XP — Подшипник роликовый радиально-упорный, импортное производство по ISO стандарту, размер 93x158x68 номер основного исполнения .
Производитель: Gamet.
X = Внешние размеры, соответствующие международным стандартам. P Литой сепаратор из стеклонаполненного полиамида 6,6, центрируемый по телам качения.
Цена по запросу
Цена на подшипник зависит от:
Габаритные размеры
Размеры и геометрические характеристики
Нагрузка и ресурс
Защита
Отклонение, точность вращения
Присоединительные размеры
Конструкция и исполнение
Другие размеры