Главная > Подшипники> Роликовые > Радиально-упорные>130070/130120P

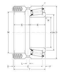
130070/130120P — Подшипник роликовый радиально-упорный, импортное производство по ISO стандарту, размер 70x120x65 номер основного исполнения .
Производитель: Gamet.
P = Литой сепаратор из стеклонаполненного полиамида 6,6, центрируемый по телам качения.
Цена по запросу
Цена на подшипник зависит от:
Габаритные размеры
Размеры и геометрические характеристики
Нагрузка и ресурс
Защита
Отклонение, точность вращения
Присоединительные размеры
Конструкция и исполнение
Другие размеры
Подшипник роликовый радиально-упорный 17814 Л
Подшипник роликовый радиально-упорный однорядный 2-17814 Л (ГПЗ-15)
Подшипник роликовый радиально-упорный однорядный 4-17814 Л (ГПЗ-15)
Конический роликоподшипник 484/472DC+X2S-484 (TIMKEN)
Конический роликоподшипник 484/472D+X2S-484 (TIMKEN)