Главная > Подшипники> Роликовые > Радиально-упорные>120063X/120110P

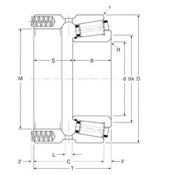
120063X/120110P — Однорядный конический роликовый подшипник, импортное производство по ISO стандарту, размер 63x110x66 номер основного исполнения .
Производитель: Gamet.
P = Литой сепаратор из стеклонаполненного полиамида 6,6, центрируемый по телам качения.
Цена по запросу
Цена на подшипник зависит от:
Габаритные размеры
Размеры и геометрические характеристики
Нагрузка и ресурс
Защита
Отклонение, точность вращения
Присоединительные размеры
Конструкция и исполнение
Другие размеры