Главная > Подшипники> Роликовые > Радиально-упорные>120060120110P

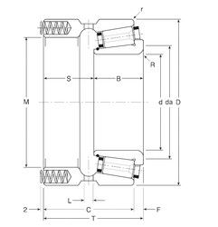
120060120110P — Подшипник роликовый радиально-упорный, импортное производство по ISO стандарту, размер 60x110x66 номер основного исполнения .
Производитель: Gamet.
P = Литой сепаратор из стеклонаполненного полиамида 6,6, центрируемый по телам качения.
Цена по запросу
Цена на подшипник зависит от:
Габаритные размеры
Размеры и геометрические характеристики
Нагрузка и ресурс
Защита
Отклонение, точность вращения
Присоединительные размеры
Конструкция и исполнение
Другие размеры
Конический роликоподшипник 432212U (NTN)
Подшипник роликовый радиально-упорный 46T32212JR/54.5 (KOYO)
Конический роликоподшипник HR60KBE52X+L (NSK)