Главная > Подшипники> Роликовые > Радиально-упорные>119045/119085P

119045/119085P — Подшипник роликовый радиально-упорный, импортное производство по ISO стандарту, размер 45x85x58 номер основного исполнения .
Производитель: Gamet.
P = Литой сепаратор из стеклонаполненного полиамида 6,6, центрируемый по телам качения.
Цена по запросу
Цена на подшипник зависит от:
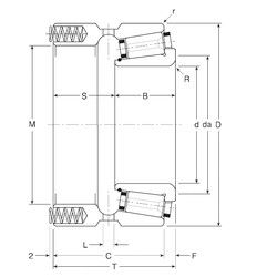
Габаритные размеры
Размеры и геометрические характеристики
Нагрузка и ресурс
Защита
Отклонение, точность вращения
Присоединительные размеры
Конструкция и исполнение
Другие размеры
Подшипник шариковый двухрядный самоустанавливающийся 11209G15 (SNR)
Подшипник шариковый двухрядный самоустанавливающийся 11209 TN9 (ISB, SKF)
Подшипник шариковый двухрядный самоустанавливающийся 11209-TVH (FAG)