Главная > Подшипники> Роликовые > Радиально-упорные>111050/111090P

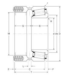
111050/111090P — Однорядный конический роликовый подшипник, импортное производство по ISO стандарту, размер 50x90x57 номер основного исполнения .
Производитель: Gamet.
P = Литой сепаратор из стеклонаполненного полиамида 6,6, центрируемый по телам качения.
Цена по запросу
Цена на подшипник зависит от:
Габаритные размеры
Размеры и геометрические характеристики
Нагрузка и ресурс
Защита
Отклонение, точность вращения
Присоединительные размеры
Конструкция и исполнение
Другие размеры
Подшипник роликовый радиально-упорный 17810 Л
Подшипник роликовый радиально-упорный 2-17810 Л (ГПЗ-15)
Подшипник роликовый радиально-упорный 111050X/111090P (Gamet)
Радиальный сферический подшипник скольжения GEZPR 200 S (SIGMA)