Главная > Подшипники> Роликовые > Радиально-упорные>100034X/100072P

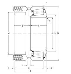
100034X/100072P — Подшипник роликовый радиально-упорный, импортное производство по ISO стандарту, размер 34x72x51 номер основного исполнения .
Производитель: Gamet.
P = Литой сепаратор из стеклонаполненного полиамида 6,6, центрируемый по телам качения.
Цена по запросу
Цена на подшипник зависит от:
Габаритные размеры
Размеры и геометрические характеристики
Нагрузка и ресурс
Защита
Отклонение, точность вращения
Присоединительные размеры
Конструкция и исполнение
Другие размеры
Радиальный шарикоподшипник CEX207-22 (SNR)
Радиальный шарикоподшипник EX207-22 (SNR)
Подшипник для корпуса G1106-KRR-B-AS2/V (INA)