Главная > Подшипники> Роликовые > Радиально-упорные>05079/05180D

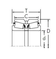
05079/05180D — Подшипник роликовый конический двухрядный, импортное производство по ISO стандарту, размер 19x45x31 номер основного исполнения .
Производитель: TIMKEN.
D = профиль наружного кольца, усовершенствованный, с увеличенной зоной несущей нагрузки и оптимизированными краевыми переходами.
Цена от:867 р.
Цена на подшипник зависит от:
Габаритные размеры
Размеры и геометрические характеристики
Защита
Конструкция и исполнение